当前位置:首页 >> 放料阀
>> 搪玻璃放料阀 >> 搪玻璃放料阀 更新时间 2026-3-19 22:56:58
搪玻璃放料阀
| 搪玻璃放料阀 |
![]() |
产品名称: | 搪玻璃放料阀 | |||||
| 型号: | HG5-16-79 | ||||||
| 口径: | DN25-200 | ||||||
| 压力: | 1.6-2.5MPa | ||||||
| 材质: | 铸钢、不锈钢304/316/316L | ||||||
|
|||||||
| 您正在浏览:【搪玻璃放料阀】 | |||||||
搪玻璃放料阀详细介绍
搪玻璃放料阀工作原理:
搪玻璃放料阀可分上展或下展式放料,上展式的手轮往右边转为关,往左边转为开,下展式的手轮往右边转为开,往左边转为关闭,阀体为V型,并提供提升和下降两种工作方式的阀瓣。搪玻璃放料阀用途介绍:
搪玻璃设备是喊高硅量的玻璃质釉。通过900℃左右高温涂于金属胎而成。它具有良好的机械性能和耐腐蚀性能,能防止介质与金属离子取代作用而影响污染制品,并且表面光洁、耐磨、有一定的热稳定性。在化工、石油、冶金、制药、农药、染料、食品加工等行业广泛使用。
搪玻璃放料阀性能优点:
1、耐腐蚀性强、能耐一般无机酸、有机酸弱碱液(P≤60℃ PH≤12)以及有机剂介质。
在盐酸、硝酸、水等强腐蚀性介质中优于不锈钢。
严禁使用含氟离子液体(如HF等)也不能用强碱及磷酸(温度>150℃浓度>30%)
2、耐热性,允许在-30℃至+240℃间使用(耐温急变小于120℃)。
3、HG5-16-79搪玻璃放料阀具有光滑的表面。不易粘结物料、易清洗。
4、绝缘性:玻璃料有良好的绝缘性,厚1mm的玻璃在2000伏的高压下不会被击穿而导电。
5、耐冲击性:耐冲击性能较小为2500克/厘米,因而使用时应避免硬物冲击。
搪玻璃放料阀适用范围:
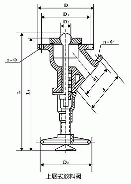
上展式搪玻璃放料阀尺寸表:

下展式搪玻璃放料阀尺寸表:

搪玻璃放料阀适用范围:
产品名称
|
规格
|
使用范围
|
50~100L反锅
|
搪玻璃放料阀
|
DN70/32
|
50~100L反锅
|
200L
|
DN80/40
|
200~500L反锅
|
300~500L
|
|
DN100/50
|
1000~2000L反锅
|
1000~2000L
|
|
DN125/80
|
3000L反锅
|
3000L
|
|
DN150/100
|
5000L以上的反锅
|
500-300L贮罐
|
上展式搪玻璃放料阀尺寸表:

配反应罐
|
规格
|
D
|
D1
|
D2
|
D3
|
z-φ
|
d
|
d1
|
n-φ
|
L
|
L1
|
50-100L
|
70/32
|
160
|
130
|
32
|
160
|
4-14
|
120
|
90
|
4-14
|
350
|
325
|
200-500L
|
80/40
|
185
|
150
|
42
|
160
|
4-18
|
130
|
100
|
4-14
|
360
|
330
|
1000-2000L
|
100/50
|
205
|
170
|
50
|
180
|
4-18
|
140
|
110
|
4-16
|
395
|
360
|
1000-2000L
|
100/50
|
210
|
185
|
50
|
180
|
6-14
|
140
|
110
|
4-16
|
395
|
360
|
1000-2000L
|
100/50
|
210
|
190
|
50
|
180
|
8-14
|
140
|
110
|
4-16
|
395
|
360
|
3000L
|
125/80
|
235
|
200
|
65
|
200
|
8-18
|
185
|
150
|
4-18
|
450
|
400
|
3000L
|
125/80
|
235
|
210
|
65
|
200
|
10-14
|
185
|
150
|
4-18
|
450
|
400
|
5000L
|
150/100
|
260
|
225
|
85
|
200
|
8-18
|
205
|
170
|
4-18
|
485
|
420
|
下展式搪玻璃放料阀尺寸表:

配反应罐
|
规格
|
D
|
D1
|
D2
|
D3
|
z-φ
|
d
|
d1
|
n-φ
|
L
|
50-100L
|
70/32
|
160
|
130
|
32
|
160
|
4-14
|
120
|
90
|
4-14
|
268
|
200-500L
|
80/50
|
185
|
150
|
42
|
100
|
4-18
|
130
|
100
|
4-14
|
275
|
1000-2000L
|
100/50
|
205
|
170
|
50
|
180
|
4-18
|
140
|
110
|
4-16
|
315
|
1000-2000L
|
100/50
|
210
|
185
|
50
|
180
|
6-14
|
140
|
110
|
4-16
|
315
|
1000-2000L
|
100/50
|
210
|
190
|
50
|
180
|
8-14
|
140
|
110
|
4-16
|
315
|
3000L
|
125/80
|
235
|
200
|
65
|
200
|
8-18
|
185
|
150
|
4-18
|
365
|
3000L
|
125/80
|
235
|
210
|
65
|
200
|
10-14
|
185
|
150
|
4-18
|
365
|
5000L
|
150/100
|
260
|
225
|
85
|
200
|
8-18
|
205
|
170
|
4-18
|
505
|
搪玻璃放料阀维护保养和安装使用注意事项:
1、在装修时凡与瓷面接触的地方必须用石棉或四氟片等软垫。使用工具不能与瓷面冲击或摩擦,更不能用金属工具铲打。
2、在紧固螺丝时四周以等力上紧,防止瓷面受力不匀而裂瓷。放料阀丝杆要经常保持润滑、防止生锈。
3、流经介质只能是液态,不得有硬颗粒混入液体内,防止瓷面起毛或堵塞,以及开启失灵等等。
4、在安装时应注意各部的螺丝受力是否平衡、升降(活动)是否灵活。
5、在搪瓷面的各部密封件应保持中心位置。压力均匀,以防泄漏。
6、使用时如发现有漏,应立即检查密封装置是否确当、不能用铁棍、杆把手轮硬扳紧,以免损坏零件。
7、出料当受阻塞时,可以使用金属杆或硬性工具疏通,不得使用金属杆或硬性工具。
8、应尽量避免酸碱介质交替使用(除中和反应介质),以免缩短寿命。
9、根据介质性能及使用期,应经常检查阀体颈部四氟密封圈和孔板部的四氟薄片。如发现有损坏应及时更换再使用。
10、若发现瓷面有损坏时应立即停用。可用专门涂料修补患处,或委托有关生产单位重新现做搪瓷。
提示:本文中所有文字、数据、图片均只适用于参考,需要了解更详细的【搪玻璃放料阀】参数、选型、价格等请联系我们,我们将竭诚为您服务!



















