当前位置:首页 >> 排气阀
>> 单口排气阀 >> 单口排气阀 更新时间 2026-3-19 22:57:53
单口排气阀
| 单口排气阀 |
![]() |
产品名称: | 单口排气阀 | |||||
| 型号: | QB1 | ||||||
| 口径: | DN15-50 | ||||||
| 压力: | 0.6-1.6MPa | ||||||
| 材质: | 铸铁,铸钢,不锈钢等 | ||||||
|
|||||||
| 您正在浏览:【单口排气阀】 | |||||||
单口排气阀详细介绍
单口排气阀产品概述:
单口排气阀用于管路上的最高点或有闭气的地方,排除管内的气体来疏通管道,达到正常工作,如不装排气阀,管内流动的液体会产生动热引起气体.形成短路,使管道出水容易达不到要求。其次,管道运转转时出现停电、停泵管道就会出现负压力,而会引起管道振动或破裂,(排)吸气阀就迅速把空气吸入管肉,防止管道振动或破裂。单口排气阀有二种连接方式,丝扣、法兰。单口排气阀工作原理:
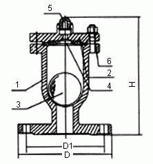
单口排气阀主要由阀体、阀门、上盖、阀杆、浮球、排气嘴等组成。当需要排出管道内的气体时,管道内的空气在水的压强作用下进入体腔内,并从排气嘴排出,随之管道内的水充满体腔内,使浮球在水的浮力作用下,向上移动将排气嘴堵塞,达到自行密封,管道在正常行中,水中的空气在压强的作用下,不断排入排气阀的体腔上部,迫使浮球下降,离开原来密封位置,这时空气又从排气嘴排出,随之,浮球又恢复到原来位置自密封,因此,排气阀在正常工作中阀门始终是开着的,浮球不断重复上述动作,空气不断排出。当需要检修或清扫体腔时,应将阀门关闭。单口排气阀,顺时针旋转阀杆时为关闭。
单口排气阀技术参数:
| 公称通径DN(mm) | 15(1/2")~50(2") |
| 公称压力PN(Mpa) | 0.6~1.6 |
| 使用温度(℃) | 0~85 |
| 适用介质 | 清水 |

单口排气阀零件材料:
| 1、阀体 | 铸铁 |
| 2、阀盖 | 铸铁 |
| 3、浮球 | 不锈钢 |
| 4、塞头 | 橡胶 |
| 5、排气阀 | 黄铜 |
| 6、螺丝、螺帽 | 元钢 |
单口排气阀外形结构图:

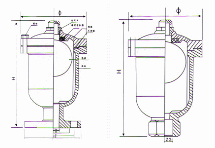
单口排气阀连接尺寸:
| 螺纹 | 规格 | ZG | Φ | H | 法兰 | 规格 | D | D1 | Φ | H |
| 20 | 3/4" | 135 | 205 | 20 | 105 | 75 | 135 | 210 | ||
| 25 | 1" | 135 | 205 | 25 | 115 | 85 | 135 | 210 | ||
| 40 | 1 1/2" | 150 | 205 | 40 | 145 | 115 | 150 | 210 | ||
| 50 | 2" | 150 | 205 | 50 | 160 | 125 | 150 | 210 |
单口排气阀产品实物图:

提示:本文中所有文字、数据、图片均只适用于参考,需要了解更详细的【单口排气阀】参数、选型、价格等请联系我们,我们将竭诚为您服务!



















