当前位置:首页 >> 保温阀门
>> 保温过滤器 >> Y型保温过滤器 更新时间 2026-3-19 23:03:50
保温过滤器
| Y型保温过滤器 |
![]() |
产品名称: | Y型保温过滤器 | |||||
| 型号: | BGL41H/W | ||||||
| 口径: | DN40-450 | ||||||
| 压力: | 1.0-6.4MPa | ||||||
| 材质: | 铸钢、不锈钢等 | ||||||
|
|||||||
| 您正在浏览:【Y型保温过滤器】 | |||||||
Y型保温过滤器详细介绍
Y型保温过滤器产品概述:
Y型保温过滤器是我厂为满足一些流体过滤时需对其保温才能获得良好的输送性能,或根据用户工况的需要,克服介质因温度下降易结晶、凝固,而设计制造的一款产品。其在普通Y型过滤器的基础上焊装保温夹套,用于注入蒸汽或导热油,以保持或提升流体的温度,防止物料凝固,提高粘性液体的过滤速度,或满足下一道工序对温度的要求。本产品特别适合于一些高粘度介质的过滤,被广泛应用于石油、化工、沥青、冶金、制药、食品等各类系统中。
Y型保温过滤器性能规范:
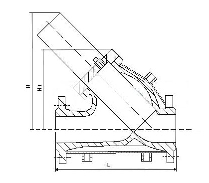
Y型保温过滤器外形结构图:

Y型保温过滤器连接尺寸:
Y型保温过滤器性能规范:
型号
|
连接形式
|
公称压力MPa
|
试验压力MPa
|
工作压力MPa
|
壳体材料
|
过滤网材料
|
适用介质
|
BGL41H/W-10
|
法兰
|
1.0
|
1.1
|
1.0
|
灰铸铁
|
1.1
|
水、油和气等
|
BGL41H/W-16
|
法兰
|
1.6
|
1.76
|
1.6
|
球墨铸铁
|
1.76
|
|
BGL41H/W-25
|
法兰
|
2.5
|
2.75
|
2.5
|
碳钢
|
2.75
|
Y型保温过滤器外形结构图:

Y型保温过滤器连接尺寸:
口径DN(mm)
|
40
|
50
|
65
|
80
|
100
|
125
|
150
|
200
|
250
|
300
|
350
|
400
|
450
|
|
BGL41H/W
|
L
|
200
|
220
|
260
|
280
|
320
|
350
|
380
|
495
|
595
|
640
|
700
|
800
|
850
|
H
|
100
|
130
|
165
|
195
|
230
|
300
|
335
|
420
|
500
|
580
|
640
|
700
|
790
|
|
提示:本文中所有文字、数据、图片均只适用于参考,需要了解更详细的【Y型保温过滤器】参数、选型、价格等请联系我们,我们将竭诚为您服务!



















