当前位置:首页 >> 塑料阀门
>> 塑料过滤器 >> Y型塑料过滤器 更新时间 2025-12-4 21:20:01
塑料过滤器
| Y型塑料过滤器 |
![]() |
产品名称: | Y型塑料过滤器 | |||||
| 型号: | UYF | ||||||
| 口径: | DN15-80 | ||||||
| 压力: | 0.6-1.6MPa | ||||||
| 材质: | UPVC/CPVC/PC | ||||||
|
|||||||
| 您正在浏览:【Y型塑料过滤器】 | |||||||
Y型塑料过滤器详细介绍
Y型塑料过滤器产品概述:
Y型塑料过滤器是输送介质的管道上不可缺缺少的一种装置,通常安装在减压阀、泄压阀、定水位阀或其他设备进口端。Y型塑料过滤器用来消除介质种的杂质,以保护阀门、水泵以及设备的正常使用。Y型塑料过滤器主要适用余化工、石油、冶金、轻工、医药、食品等行业的液体及气体物料的过滤。
Y型塑料过滤器工作原理:
Y型塑料过滤器当流体进入置有一定规格滤网的滤筒后,其杂质被阻挡,而清洁的滤液则由过滤器出口排出,达到净化的目的。当需要清洗时,只要将可拆卸的滤筒取出,处理后重新装入即可,因此,使用维护极为方便。
Y型塑料过滤器当流体进入置有一定规格滤网的滤筒后,其杂质被阻挡,而清洁的滤液则由过滤器出口排出,达到净化的目的。当需要清洗时,只要将可拆卸的滤筒取出,处理后重新装入即可,因此,使用维护极为方便。
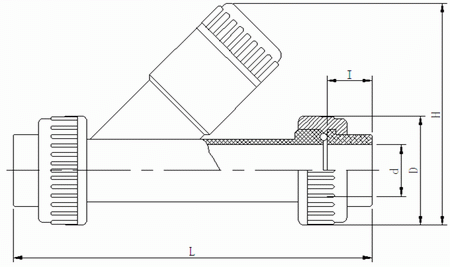
Y型塑料过滤器外形结构图:

Y型塑料过滤器连接尺寸:


Y型塑料过滤器连接尺寸:

提示:本文中所有文字、数据、图片均只适用于参考,需要了解更详细的【Y型塑料过滤器】参数、选型、价格等请联系我们,我们将竭诚为您服务!



















