当前位置:首页 >> 真空阀门
>> 真空挡板阀 >> 三通式气动高真空挡板阀 更新时间 2026-3-19 23:00:59
真空挡板阀
| 三通式气动高真空挡板阀 |
![]() |
产品名称: | 三通式气动高真空挡板阀 | |||||
| 型号: | GDQ-JS | ||||||
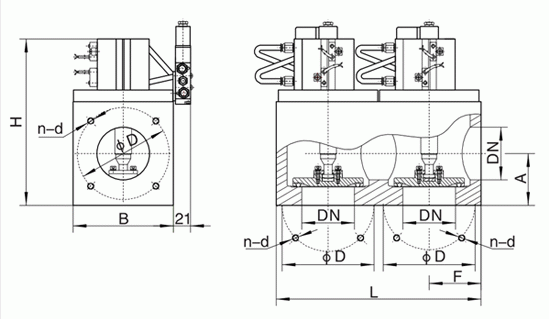
| 口径: | DN50-63 | ||||||
| 压力: | 0.6×106 ~1.3×10-4 | ||||||
| 材质: | 铸钢、不锈钢 | ||||||
|
|||||||
| 您正在浏览:【三通式气动高真空挡板阀】 | |||||||
三通式气动高真空挡板阀详细介绍
三通式气动高真空挡板阀产品概述:
GQ-JS三通式气动高真空挡板阀是以压缩空气为动力,通过控制气动元件来改变气路方向,双路接口,气缸驱动使挡板阀作启闭运动,用于接通或切断真空管路中的气流。适用的工作介质为空气或非腐蚀性气体。
三通式气动高真空挡板阀技术性能:
-25~+80(密封材料为腈橡胶) |
|
标准出厂:AC220V/50Hz |
|

三通式气动高真空挡板阀连接尺寸:
提示:本文中所有文字、数据、图片均只适用于参考,需要了解更详细的【三通式气动高真空挡板阀】参数、选型、价格等请联系我们,我们将竭诚为您服务!



















